Your shopping cart is empty!
View Cart Checkout
$839.36
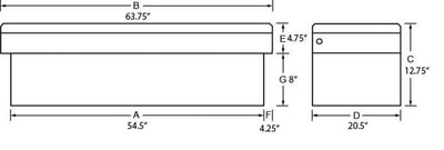
Tradesman Aluminum Single Lid Cross Bed Truck Tool Box (63in.) - Black
$132.00